;

Траверсы для деревянных опор производства ENSTO

Одноцепная промежуточная траверса с горизонтальным расположением фаз SH248
Применяется для крепления защищенных проводов на промежуточных опорах ВЛЗ 35 кВ совместно с изоляторами SDI81, которые заказываются отдельно.
d - диаметр крепежного болта М20; D - максимальный диаметр стойки 220.
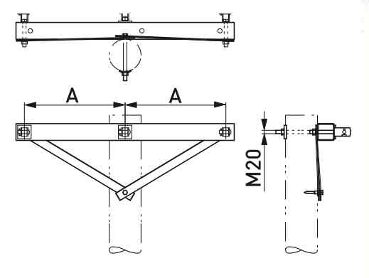
Одноцепная промежуточная угловая траверса с горизонтальным расположением фаз SH250
Применяется для крепления защищенных проводов на промежуточных угловых опорах ВЛЗ 35 кВ. Используется совместно с натяжными композитными изоляторами SDI90.350, поддерживающими зажимами SO181.5 и устройствами защиты от дуги SDI27.1. Изоляторы, зажимы и защитные устройства заказываются отдельно.
d - диаметр крепежного болта М20; D - максимальный диаметр стойки 220.
Одноцепная промежуточная угловая траверса с горизонтальным расположением фаз SH251
Применяется для крепления защищенных проводов на промежуточных угловых опорах ВЛЗ 35 кВ. Используется совместно с натяжными композитными изоляторами SDI90.350, поддерживающими зажимами SO181.5 и устройствами защиты от дуги SDI27.1. Изоляторы, зажимы и защитные устройства заказываются отдельно.
d - диаметр крепежного болта М20; D - максимальный диаметр стойки 220.
Одноцепная концевая траверса с горизонтальным расположением фаз SH252
Применяется для крепления защищенных проводов на одноцепных концевых опорах ВЛЗ 35 кВ. Используется совместно с натяжными композитными изоляторами SDI90.350, анкерными зажимами SO235 или SO236 и устройствами защиты от дуги SDI27.1. Изоляторы, зажимы и защитные устройства заказываются отдельно.
d - диаметр крепежного болта М20; D - максимальный диаметр стойки 240.
Одноцепная анкерная траверса с горизонтальным расположением фаз SH253
Применяется для крепления защищенных проводов на одноцепных анкерных опорах ВЛЗ 35 кВ. Используется совместно с натяжными композитными изоляторами SDI90.350, опорным фарфоровым изолятором SDI81.х, анкерными зажимами SO235 или SO236 и устройствами защиты от дуги SDI27.1. Изоляторы, зажимы
и защитные устройства заказываются отдельно.
d - диаметр крепежного болта М20; D - максимальный диаметр стойки 240.
Код Артикул Код EAN Описание Заказать
259065 SH248 6418677422898 Траверса промежуточной горизонтальной опоры ВЛЗ 36 кВ, A=600 Заказать
259066 SH250 6418677422911 Траверса угловой опоры ВЛЗ 36 кВ, 1070/1270, 1-стойка Заказать
259067 SH251 6418677422928 Траверса угловой опоры ВЛЗ 36 кВ, 1270/1070, 2-стойки Заказать
259068 SH252 6418677422935 Траверса концевой анкерной опоры ВЛЗ 36 кВ, A=600 Заказать
259069 SH253 6418677422942 Траверса анкерной опоры ВЛЗ 36 кВ, A=600 Заказать
;